在刚刚过去的中秋档,内地电影票房报收7.9亿元人民币,比去年的5.3亿上涨明显。其中,由肖战、孟美岐等几位流量明星主演的仙侠片《诛仙Ⅰ》以2.69亿票房成为中秋档期冠军,同时又掀起“IP+流量”的大讨论。
电影《诛仙1》由新丽传媒集团有限公司、华夏电影发行有限责任公司出品,上海淘票票影视文化有限公司、爱奇艺影业(北京)有限公司联合出品,改编自萧鼎的原著小说,属于大IP,陪伴过很多人的青春,被誉为“后金庸时代的武侠经典”。由香港著名导演程小东执导,集中了肖战、李沁、孟美岐等年轻演员,尤其肖战、孟美岐,属于当下的高流量明星。

大家都知道,现如今随着国民知识产权保护意识的逐渐提高,对于一些大制作的电影和知名小说都会进行商标注册和保护,前段时间随着电影《哪吒之魔童降世》的热播,光线传媒却就于8月9日当天一口气提交了1818个商标注册申请。这批商标的名称都是围绕着《哪吒》,几乎与电影有关的名称都注册了个遍,比如魔童哪吒、殷夫人、魔丸、哪吒之魔童降世、熬丙、MOTONEZHA等等等等。详情可查看《恶意囤积还是商标保护?光线传媒疯狂抢注近2000件“哪吒”商标为哪般?》
光线传媒大批量注册“哪吒”商标,一方面是出于商标保护,防止商标被他人抢注,出现“搭便车”“蹭热度”的情况;另一方面也是为后期开发各种IP 衍生产品做准备。
那么《诛仙1》呢?他们在商标注册和商标保护方面做的又怎么样呢?
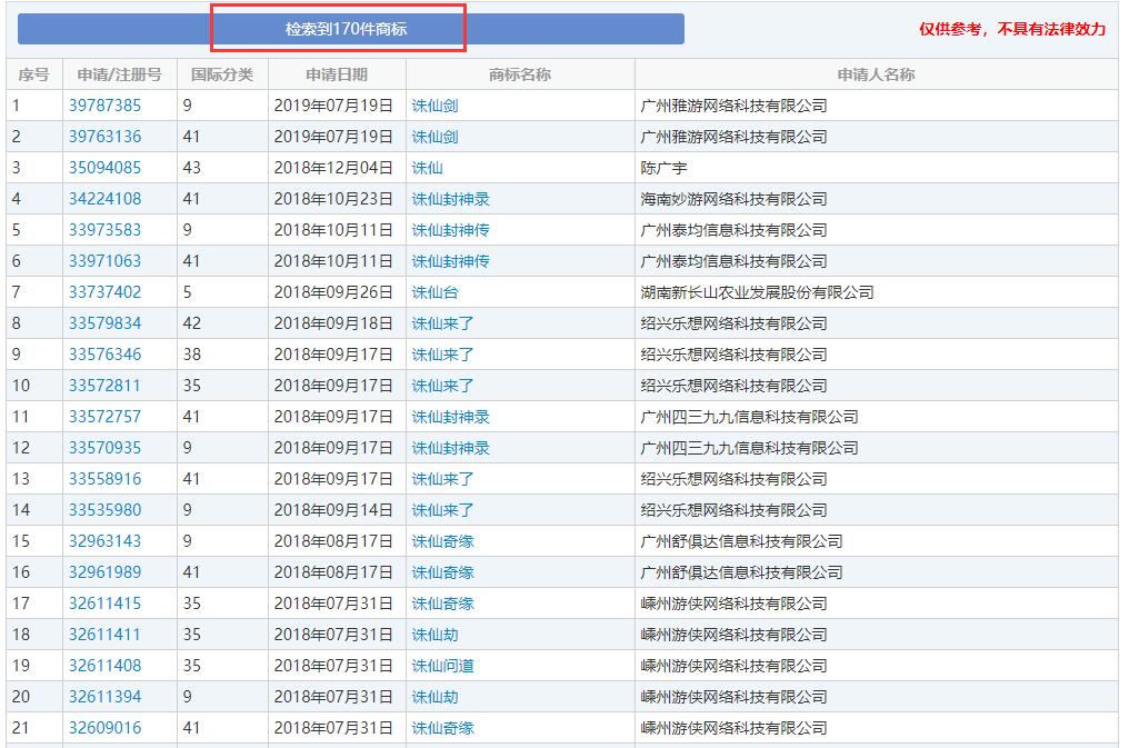
不查不知道,一查吓一跳,通过商标查询,可检索到170件与“诛仙”有关的商标,其中有98件是完美世界(北京)软件科技发展有限公司提交的。

完美世界(北京)软件科技发展有限公司是网游《诛仙》的开发公司,他们提交的“诛仙”相关商标包含“诛仙灵之契约”“诛仙之白夜妖形”“诛仙”“诛仙朵一”“诛仙云梦川”“诛仙世界”等等,可以说完美世界的知识产权意识十分到位了。

但是网游不是电影呀,而且电影和网游的制作公司也不是同一家。那么电影《诛仙Ⅰ》的商标注册情况究竟如何呢?赛贝小编没有检索到任何《诛仙Ⅰ》制作公司提交的商标注册申请。
不知道《诛仙Ⅰ》电影制作方是疏于商标保护呢,还是准备像《哪吒》那样,等到电影上映十多天之后在注册。不过如果是后者,赛贝小编建议还是早点注册商标的好,要知道我国商标注册可是实行“申请在先”原则,要是他人提前提交了商标注册申请,电影制作方再注册可就晚了。
本文版权为赛贝知识产权平台(www.saibeiip.com)所有,转载请在显著位置注明来源。






刷新