“市场未动,商标先行”,很多时候商标注册情况可以从一定程度上反应一个企业的发展和市场动态,比如前段时间OPPO在推出全新品牌“RENO”之前就大手笔的申请了“RENO”全类商标注册,并低调的收购了相关的域名。果然不就就官宣将推出全新产品系列“Reno”。
提前注册商标可以说是对品牌提前进行保护,防止他人抢注商标。近日赛贝小编发现华为也有新动作,华为把一大批“玄武”“青鸟”“朱雀”等中国神兽名称申请商标注册了,就到底是要干什么呢?
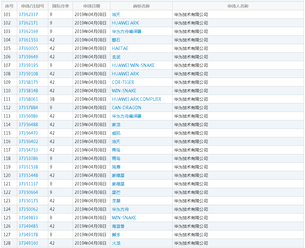
通过商标查询可发现,这些商标基本上都是华为在4月4日到4月8日之间提交申请的,商标注册类别多是第9类计算机仪器类和第42类科技服务类。


这些如此具有中国特色的商标究竟是要干什么我们目前还不得而知。不过华为目前比较知名的中国风商标有荣耀,这也是华为全力打造的面向年轻人群的科技潮牌。为了保护这个品牌华为也为荣耀申请了245件商标,包含“荣耀”“荣耀魔方”“荣耀 METOPE”“荣耀 VISION”等多个商标。

而前不久华为刚刚发布了两款和5G相关的芯片,一款基站芯片“天罡”,一款终端芯片“巴龙”,这两款5G芯片名称也相当具有中国特色。除此之外华为还有麒麟芯片,不得不说,华为在产品命名和商标注册方面真的非常玄幻,难怪网友调侃道:“华为负责商标注册的人是个妥妥的玄幻迷啊!”
我们曾经在之前的文章中谈到过华为是非常注重知识产权保护的,在专利方面,根据欧洲专利局报告显示,去年华为向欧洲专利局提交了2,485项专利申请,位于第二位,详情可查看《2018欧洲专利申请排名:华为仅次于西门子,名列第二》。
在版权方面,最知名的当属华为斥巨资买下了《Dream It Possible》英文版权和《我的梦》中文版权,推广自己的手机品牌,详情可查看《除了大量申请专利,华为还花8000万买下了《我的梦》首歌版权》。
而此次华为又是大手笔注册大量“中国神兽”商标,这是要做什么呢?
也有网友表示,可能华为这么做仅仅只是注册防御商标。
我们知道,当企业发展到一定规模,品牌知名度越来越高,很容易成为不法经营者抢注的对象,这些抢注者在商标注册后将产品推向市场,直接压缩了该品牌的市场份额,也会对企业形象造成不好的影响,企业为了遏制这种现象,便纷纷将与自己品牌近似的名称注册成商标,不仅可以抵制这种现象,还可以巩固自己的品牌地位。
为保护自己的商标,大白兔注册了十几个近似商标:有大灰兔、大黑兔、大花兔、小白兔、金兔、银兔……阿里巴巴注册了“阿里爸爸”、“阿里妈妈”、“阿里姐姐”、“阿里妹妹”、“阿里姑姑”、“阿里叔叔”、“阿里哥哥”、“阿里弟弟”等商标。老干妈注册了“老干爹”、“老干娘”、“老干爸”、“干儿子”、“干儿女”、“老姨妈”等商标。
而华为这么做,可能也是出于防止他人“傍”名牌的目的,毕竟对于华为这样的跨国企业来说,前期商标保护工作做得越到位,后期可能遇到的麻烦就越少。
不管是什么原因让华为注册了这么多的中国风商标,但是华为肯定不是闲得无聊注册的玩的,相信华为为在以后的发展中会陆续放出这些神兽的,让我们拭目以待吧!
本文版权为赛贝知识产权平台(www.saibeiip.com)所有,转载请在显著位置注明来源。






刷新